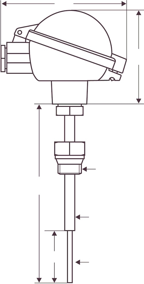
Sicherheits-Thermoelemente | TC 293 (Ex)
218,00 EUR
inkl. 19 % USt -> Preis zzgl. Versandkosten
Lieferzeit bzw. Fertigungszeit variiert - bitte erfragen!
Art.Nr.: TC293Produktbeschreibung
Merkmale
Temperaturausgleichsverhalten: |
Die genauen Spezifikationen entnehmen Sie bitte den folgenden Datenblättern:
![]() |




