Luftfühler (Typ K) für saubere Medien | GF 1TK-L3
48,20 EUR
inkl. 19 % USt -> Preis zzgl. Versandkosten
Lieferzeit i.d. Regel ca. 0-4 Arbeitstage für Standardausführung
Art.Nr.: GF 1TK-L3Produktbeschreibung
NiCr-Ni Standard-Messfühler "Typ K" Klasse 1 (= höchste Genauigkeitsklasse nach DIN)
Sollten Sie den passenden Messfühler hier nicht finden - sagen Sie es uns - wir liefern Messfühler nach Kundenwunsch!
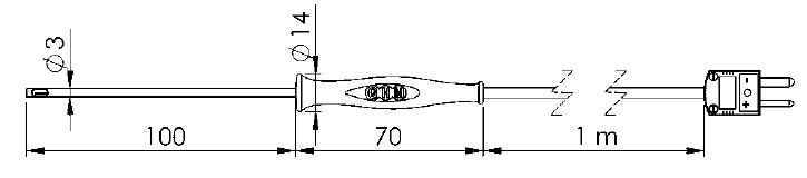
| Bestelltype | Messbereich °C | Anwendungen / Abmessungen (mm) |
| GF 1TK-L3 |
-65°C bis +400°C |
Luftfühler für saubere Medien (bei verschmutzten Medien GF 1TK-T3 verwenden), gelochtes V4A-Rohr Ø 3 mm, Messelement frei angeordnet, schwarzer Silikongriff -50°C bis +250°C, 1 m
|
Viele Fühler und Geräte sind für ISO 9000ff-Werkskalibrierscheine bzw. DKD-Scheine geeignet. Bitte fragen Sie uns!
Sonderanfertigungen:
Die aufgeführten Fühler können jederzeit nach Ihren Wünschen gegen Aufpreis modifiziert werden.
| Katalogseite als .pdf: |
![]() |





